Future AirPods may gain finer and faster gesture recognition

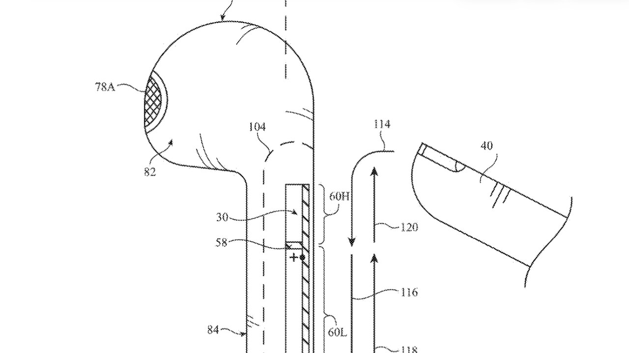
New research shows that Apple is looking to improve gestures on AirPods by dropping the separate detection circuitry of AirPods, and instead using the RF antenna to sense the gesture. In the future, the antenna may be used to sense a user's touch — image credit: Apple In the surprisingly long history of AirPods — the first known patent for them was back in 2011 — there have been many plans for gesture control. Some have yet to appear, such as camera-based systems . Now in a newly-revealed patent application called "Gesture Detection Based on Antenna Impedance Measurements," Apple has detailed another gesture approach entirely. Where the current AirPods have a touch surface, it's a separate system from the rest of the earbud and Apple doesn't think that's good enough. Continue Reading on AppleInsider | Discuss on our Forums